¹âÆ×¹²½¹´«¸ÐÆ÷ÓÃÓÚÌÕ´ÉÖÊÁÏÍâ¹Û¼ì²â
- admin
ÐÂÐÍÌÕ´ÉÔÚÄ͸ßΡ¢ÄÍÇÖÊ´¡¢ÄÍÄ¥Ëð¡¢³¬Ó²ÐÔ¡¢³¬µ¼ÐÔ£¬£¬£¬£¬£¬Ô¶±È¹Å°åÌÕ´É¡¢ÏÖ´æµÄ½ðÊô»ò·Ç½ðÊôÖÊÁÏÓÅÔ½£»£»£»£»£»ÐÂÐÍÌÕ´É»¹¾ßÓйâÃô¡¢ÆøÃô¡¢ÈÈÃô¡¢ÊªÃô¡¢Ñ¹µçµÈÐÔÄÜ£¬£¬£¬£¬£¬ÔÚÈ˹¤ÖÇÄÜÁìÓòÖÊÁÏÖÆ×÷ÉϾ߱¸ÆæÒìµÄÓÅÊÆ£¬£¬£¬£¬£¬±»ÆÕ±éÓ¦ÓÃÓÚ°ëµ¼Ìå·â×°ÐÐÒµÖС£¡£¡£¡£¡£¡£¡£¡£

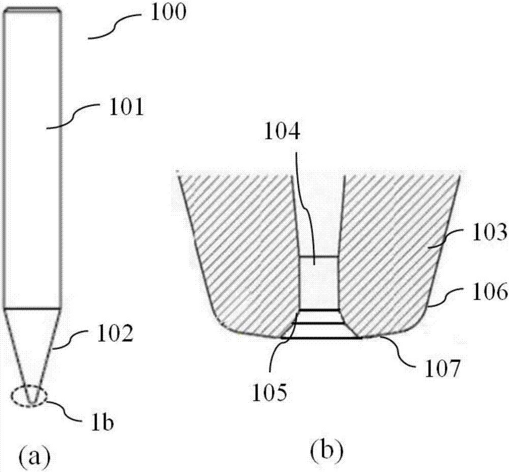
ÒÔÌÕ´ÉÅüµ¶ÎªÀý£¬£¬£¬£¬£¬×÷ΪIC·â×°ÐÐÒµµÄÏûºÄÆ·£¬£¬£¬£¬£¬Æä±»ÓþΪ¡°Ï¸ÃÜÌÕ´ÉÐÐÒµµÄ±¦²Ø¡±£¬£¬£¬£¬£¬Ö÷ÒªÓ¦ÓÃÊÇ×°ÖÃÔÚ¼üºÏ»úÉÏÓÃÒýÏß¼üºÏµÄ·½·¨¼üºÏº¸µã¡£¡£¡£¡£¡£¡£¡£¡£ÌÕ´ÉÅüµ¶ÒÔÆäµÍ±¾Ç®ÓÅÊÆ¶ÀÍÌÁËоƬºÍ»ù°åµç·ÅþÁ¬90%ÒÔÉϵÄÊг¡£¡£¡£¡£¡£¡£¡£¡£¡Î´À´ÍÏßÊÆ±ØÌæ»»½ðÏß³ÉΪÖ÷Òª½¡ºÏÏߣ¬£¬£¬£¬£¬Òò´Ë£¬£¬£¬£¬£¬ÌÕ´ÉÖÊÁϵÄˢкÍÍâò´Ö²Ú¶ÈÖÆ×÷ÒªÁ콫³ÉΪÆäÖеÄÒªº¦¡£¡£¡£¡£¡£¡£¡£¡£Ò»Ñùƽ³£Ñ¡ÔñÌÕ´ÉÅüµ¶µÄ×î¼ÑÄÚ¿×¾¶ÊǽðÏßÖ±¾¶µÄ1.4±¶£¬£¬£¬£¬£¬¶øÊÐÃæÉÏÐí¶à΢µç×Ó¼üºÏ½ðÏߣ¬£¬£¬£¬£¬Ö±¾¶Ð¡µ½1¦Ìm¡ª3¦Ìm¡£¡£¡£¡£¡£¡£¡£¡£Òò´Ë£¬£¬£¬£¬£¬ÔÚÉú²úÖÆÔì»·½ÚÉϾÍÐèÒª¼«ÆäϸÃܵÄÔÚÏßÕÉÁ¿£¬£¬£¬£¬£¬Í¨³£ÆóÒµ»áÑ¡ÔñʹÓÃϸÃܹâѧ´«¸ÐÆ÷Íê³É¼ì²âÊÂÇé¡£¡£¡£¡£¡£¡£¡£¡£¹º±¦Ç®°ü-È«ÇòÁìÏȵÄÇø¿éÁ´Ö§¸¶Ç®°üµã¹âÆ×¹²½¹Î»ÒÆ´«¸ÐÆ÷µ¥Í¨µÀģʽÏÂÄܹ»ÊµÏÖ×î¿ì72000´Î/ÃëµÄ³¬¸ßËÙÕÉÁ¿£¬£¬£¬£¬£¬×î¶àÖ§³ÖËÄͨµÀͬ²½ÕÉÁ¿£¬£¬£¬£¬£¬Ìá¸ßËÙÂÊ£¬£¬£¬£¬£¬½µµÍ±¾Ç®¡£¡£¡£¡£¡£¡£¡£¡£ÁíÍ⣬£¬£¬£¬£¬Õâ¿îÓÃÓÚÌÕ´ÉÅüµ¶¼ì²âµÄ¹âÆ×¹²½¹´«¸ÐÆ÷×îС¹â°ßΪ1.4¦Ìm£¬£¬£¬£¬£¬ÊʺÏÕÉÁ¿Ï¸ÃÜÌմɵÈϸС¼¸ºÎ½á¹¹ºÍÂÖÀª×ª±ä¡£¡£¡£¡£¡£¡£¡£¡£

¡ª¡ª¡ª¡ª¡ª¡ª¡ª¡ª¡ª¡ª¡ª¡ª¡ª¡ª¡ª¡ª¡ª¡ª¡ª¡ª¡ª¡ª¡ª¡ª¡ª¡ª¡ª¡ª¡ª¡ª¡ª¡ª
¸ü¶à´«¸ÐÆ÷²úÆ·£¬£¬£¬£¬£¬Çë×Éѯ¹º±¦Ç®°ü-È«ÇòÁìÏȵÄÇø¿éÁ´Ö§¸¶Ç®°üÊÖÒÕ£¬£¬£¬£¬£¬×¨Òµ¹ú²ú´«¸ÐÆ÷Ñб¬·¢²ú¹«Ë¾£¬£¬£¬£¬£¬×¨×¢Ï¸ÃÜÕÉÁ¿¡¢3DÕÉÁ¿ÁìÓò£¬£¬£¬£¬£¬ÖÂÁ¦ÓÚ½¨ÉèÒ»Á÷µÄ¸ß¶ËÖÇÄÜ´«¸ÐÆ÷Æ·ÅÆ¡£¡£¡£¡£¡£¡£¡£¡£
¹«Ë¾Ö÷Óª£º3DÉÁ²â´«¸ÐÆ÷¡¢3DÏß¹âÆ×¹²½¹´«¸ÐÆ÷¡¢µã¹âÆ×¹²½¹´«¸ÐÆ÷¡¢¼¤¹â¶Ôµ¶ÒÇ¡¢³¬¸ßËÙ¹¤ÒµÏà»ú¡¢ÁùάÁ¦´«¸ÐÆ÷¡¢¼¤¹â¶ÔÕë´«¸ÐÆ÷µÈ














